本發明涉及印刷技術領域,具體為一種墨輪打碼機。

背景技術:
墨輪打碼機可以在不同材質的和種形狀物體的凹凸上印刷,其操作簡單,質量可靠,印刷圖案清晰美觀,是食品、罐頭、飲料、化妝品、電器、制藥等行業的理想打碼設備,可在產品表面進行出廠日期打碼、保證期打碼、批號打碼,條碼打碼、圖案打碼等等。
現有墨輪打碼機的工作原理如圖5所示,加熱板將墨輪上面的油墨加熱熔化,再與轉動的輥子接觸,然后輥子上面的數字被油墨覆蓋,輥子在轉動過程中,將油墨印刷在承載物上,由于墨輪與輥子是摩擦式接觸,打印一段時間后,再加上油墨為消耗品,造成墨輪上面的油墨越來越少,導致墨輪與輥子之間的間距逐漸加大,輥子在轉動時,吸附在輥子上的油墨越來越少,導致承印物在打印時,數字不清晰,表面模糊,且一經擦拭,油墨就會從物體表面脫落,嚴重時,墨輪與輥子之間不接觸,導致油墨無法吸附在輥子上,造成輥子無法打出數字,降低打印質量,此時墨輪的表面還具有一定厚度的油墨,這些油墨隨墨輪直接被更換,導致墨輪被極大的浪費,且每次更換都需要停止墨輪打碼機,影響物體表面的打印,從而降低物體的生產效率,進而影響整個經濟效益,同時還會造成資源的浪費。
技術實現要素:
針對上述背景技術的不足,本發明提供了一種墨輪打碼機,具備增加墨輪耐久度、提高印刷質量的優點,解決了背景技術提出的問題。
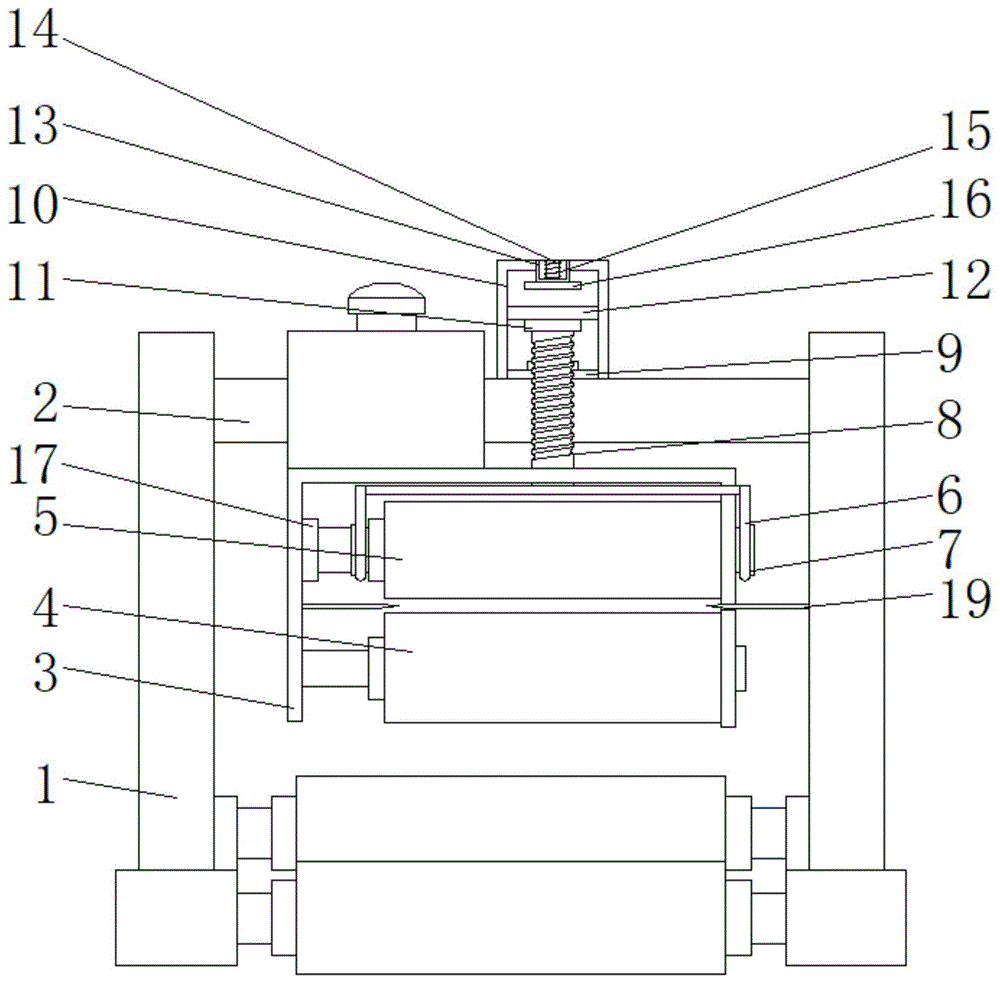
本發明提供如下技術方案:一種墨輪打碼機,包括機體、機架、加熱板、輥子、墨輪,機架安裝在機體之間,加熱板安裝在機架的底部,輥子安裝在加熱板內,墨輪安裝在加熱板內并位于輥子的上方,所述墨輪上安裝有支撐架,所述支撐架的頂部固定連接有螺桿,所述螺桿的頂端固定連接有定位套,所述定位套的頂部轉動連接有磁塊,所述磁塊的外部安裝有定位筒,所述定位筒的底部與機架的頂部固定連接,所述定位筒的頂壁安裝有限位筒,所述限位筒內安裝有鐵棒,所述鐵棒上卷接有導線,所述導線的端部與加熱板的電源相連,所述限位筒的底端固定連接有鐵塊,所述鐵塊通電后釋放的磁力與磁塊為同極相斥狀態。
優選的,所述機架的頂部固定連接有位于定位筒內部的限位套,所述螺桿上開設有內螺紋,所述機架與限位套內開設有外螺紋,所述螺桿上的內螺紋與機架、限位套外螺紋螺紋連接。
優選的,所述墨輪的端部轉動連接有滑動塊,所述機架上開設有與滑動塊相適配的滑槽,所述滑動塊的外壁與滑槽的內壁滑動連接,所述滑動塊移動的長度小于滑槽的長度。
優選的,所述支撐架的底部為開口狀,所述墨輪的側面螺紋連接有螺栓,所述螺栓鎖緊后與支撐架的側面相接觸。
優選的,所述機體的側面固定連接有墊片,所述墊片延伸至輥子與墨輪之間,所述墊片的端部為弧形,所述墊片的形狀與墨輪的形狀相適配。
本發明具備以下有益效果:
1、該墨輪打碼機,通過支撐架與螺桿之間的配合,使得墨輪被磨損后,利用磁塊與鐵塊之間相斥的原理,將墨輪向下按壓,使得磨損后的墨輪逐漸恢復至初始位置,使得墨輪的底部與輥子的頂部,始終保持密切相貼的狀態,使得輥子在轉動過程中,需要將磨損墨輪上的油墨吸附,繼續印刷至承載物上,使得輥子上的油墨始終保持充足的含量,一方面增加物體在印刷時的質量,使得印刷的字體表面清晰、無重影,另一方面使得磨損后的墨輪與輥子始終保持相貼的狀態,根據墨輪的磨損狀態,自動移動,減少能源的浪費,減少打碼機的停機時間,進一步增加經濟效益。
2、該墨輪打碼機,通過螺桿與限位套之間的螺紋配合,使得墨輪在移動過程中,保持均速移動,緩慢向下降落,減小墨輪與輥子之間的摩擦力,從而減小墨輪的磨損程度,增加墨輪的耐久度,通過墊片的作用,使得磨損后的墨輪始終貼緊墊片的頂部,使得墨輪與輥子之間相隔有墊片,一方面對墨輪進行限位,減小墨輪與輥子之間的接觸力度,另一方面增加墨輪的耐久度,使得磨損后的墨輪還可繼續使用,從而提高墨輪的壽命。
附圖說明
圖1為本發明結構示意圖;
圖2為定位筒的放大結構示意圖;
圖3為支撐架的側視結構示意圖;
圖4為加熱板的側視結構示意圖;
圖5為現有結構示意圖。
圖中:1、機體;2、機架;3、加熱板;4、輥子;5、墨輪;6、支撐架;7、螺栓;8、螺桿;9、限位套;10、定位筒;11、定位套;12、磁塊;13、限位筒;14、鐵棒;15、導線;16、鐵塊;17、滑動塊;18、滑槽;19、墊片。
具體實施方式
下面將結合本發明實施例中的附圖,對本發明實施例中的技術方案進行清楚、完整地描述,顯然,所描述的實施例僅僅是本發明一部分實施例,而不是全部的實施例?;诒景l明中的實施例,本領域普通技術人員在沒有做出創造性勞動前提下所獲得的所有其他實施例,都屬于本發明保護的范圍。
請參閱圖1-4,一種墨輪打碼機,包括機體1、機架2、加熱板3、輥子4、墨輪5,機架2安裝在機體1之間,加熱板3安裝在機架2的底部,輥子4安裝在加熱板3內,墨輪5安裝在加熱板3內并位于輥子4的上方,所述墨輪5上安裝有支撐架6,所述支撐架6的頂部固定連接有螺桿8,所述螺桿8的頂端固定連接有定位套11,所述定位套11的頂部轉動連接有磁塊12,所述磁塊12的外部安裝有定位筒10,磁塊12與定位筒10的內壁滑動連接,使得磁塊12可以移動不同的位置,便于螺桿8的移動,所述定位筒10的底部與機架2的頂部固定連接,所述定位筒10的頂壁安裝有限位筒13,增加鐵棒14在使用時的穩定,所述限位筒13內安裝有鐵棒14,所述鐵棒14上卷接有導線15,所述導線15的端部與加熱板3的電源相連,導線15與加熱板3電源的連接,采用現有公知技術,主要作用就是將導線15通電,便于形成電磁鐵,所述限位筒13的底端固定連接有鐵塊16,鐵棒14、導線15與鐵塊16通電后形成電磁鐵釋放磁力,所述鐵塊16通電后釋放的磁力與磁塊12為同極相斥狀態,使得磁塊12始終保持向下按壓的力度,使得墨輪5磨損后,即可自動向下移動,使得墨輪5始終與輥子4之間保持緊密連接,從而增加印刷質量。
其中,所述機架2的頂部固定連接有位于定位筒10內部的限位套9,限位套9的作用就是增加螺桿8的穩定性,便于螺桿8保持豎直向上或向下的運動,所述螺桿8上開設有內螺紋,所述機架2與限位套9內開設有外螺紋,所述螺桿8上的內螺紋與機架2、限位套9外螺紋螺紋連接,螺桿8與限位套9之間的連接為絲桿方式連接。
其中,所述墨輪5的端部轉動連接有滑動塊17,所述機架2上開設有與滑動塊17相適配的滑槽18,使得滑動塊17可以移動不同的位置,增加滑動塊17在移動時的流暢度,同時增加墨輪5在移動時的穩定性,使得墨輪5保持平滑的狀態移動,使得墨輪5始終保持軸向平行,所述滑動塊17的外壁與滑槽18的內壁滑動連接,所述滑動塊17移動的長度小于滑槽18的長度。
其中,所述支撐架6的底部為開口狀,所述墨輪5的側面螺紋連接有螺栓7,所述螺栓7鎖緊后與支撐架6的側面相接觸。
其中,所述機體1的側面固定連接有墊片19,所述墊片19延伸至輥子4與墨輪5之間,所述墊片19的端部為弧形,所述墊片19的形狀與墨輪5的形狀相適配,墊片19可以將墨輪5與輥子4之間隔開,一方面減小墨輪5與輥子4之間的摩擦,另一方面便于對墨輪5進行限位,使得墨輪5始終與輥子4保持緊密連接,墊片19為碳鋼所制。
工作原理,將導線15與加熱板3上的電源相接,然后加熱板3啟動后逐漸升溫,將墨輪5表面的油墨加熱熔化,輥子4轉動,帶動墨輪5上的油墨吸附在輥子上,再印刷至物體上,隨著印刷時間的增加,墨輪5表面的油墨逐漸被消耗,墨輪5與輥子4之間的間距逐漸增大,此時導線15通電后,產生一定的磁力,通過磁力同極相斥的原理,將磁塊12向下頂動,然后螺桿8不斷旋轉下降,從而帶動支撐架6向下移動,再帶動墨輪5與墊片19保持接觸,將磨損后的墨輪5與輥子4貼合,當墨輪5繼續磨損后,再利用磁力相斥的原理,重復上述動作,即可將墨輪5再次與輥子4接觸。
需要說明的是,在本文中,諸如第一和第二等之類的關系術語僅僅用來將一個實體或者操作與另一個實體或操作區分開來,而不一定要求或者暗示這些實體或操作之間存在任何這種實際的關系或者順序。而且,術語“包括”、“包含”或者其任何其他變體意在涵蓋非排他性的包含,從而使得包括一系列要素的過程、方法、物品或者設備不僅包括那些要素,而且還包括沒有明確列出的其他要素,或者是還包括為這種過程、方法、物品或者設備所固有的要素。
盡管已經示出和描述了本發明的實施例,對于本領域的普通技術人員而言,可以理解在不脫離本發明的原理和精神的情況下可以對這些實施例進行多種變化、修改、替換和變型,本發明的范圍由所附權利要求及其等同物限定。
技術特征:
1.一種墨輪打碼機,包括機體(1)、機架(2)、加熱板(3)、輥子(4)、墨輪(5),機架(2)安裝在機體(1)之間,加熱板(3)安裝在機架(2)的底部,輥子(4)安裝在加熱板(3)內,墨輪(5)安裝在加熱板(3)內并位于輥子(4)的上方,其特征在于:所述墨輪(5)上安裝有支撐架(6),所述支撐架(6)的頂部固定連接有螺桿(8),所述螺桿(8)的頂端固定連接有定位套(11),所述定位套(11)的頂部轉動連接有磁塊(12),所述磁塊(12)的外部安裝有定位筒(10),所述定位筒(10)的底部與機架(2)的頂部固定連接,所述定位筒(10)的頂壁安裝有限位筒(13),所述限位筒(13)內安裝有鐵棒(14),所述鐵棒(14)上卷接有導線(15),所述導線(15)的端部與加熱板(3)的電源相連,所述限位筒(13)的底端固定連接有鐵塊(16),所述鐵塊(16)通電后釋放的磁力與磁塊(12)為同極相斥狀態。
2.根據權利要求1所述的一種墨輪打碼機,其特征在于:所述機架(2)的頂部固定連接有位于定位筒(10)內部的限位套(9),所述螺桿(8)上開設有內螺紋,所述機架(2)與限位套(9)內開設有外螺紋,所述螺桿(8)上的內螺紋與機架(2)、限位套(9)外螺紋螺紋連接。
3.根據權利要求1所述的一種墨輪打碼機,其特征在于:所述墨輪(5)的端部轉動連接有滑動塊(17),所述機架(2)上開設有與滑動塊(17)相適配的滑槽(18),所述滑動塊(17)的外壁與滑槽(18)的內壁滑動連接,所述滑動塊(17)移動的長度小于滑槽(18)的長度。
4.根據權利要求1所述的一種墨輪打碼機,其特征在于:所述支撐架(6)的底部為開口狀,所述墨輪(5)的側面螺紋連接有螺栓(7),所述螺栓(7)鎖緊后與支撐架(6)的側面相接觸。
5.根據權利要求1所述的一種墨輪打碼機,其特征在于:所述機體(1)的側面固定連接有墊片(19),所述墊片(19)延伸至輥子(4)與墨輪(5)之間,所述墊片(19)的端部為弧形,所述墊片(19)的形狀與墨輪(5)的形狀相適配。
技術總結
本發明涉及印刷技術領域,且公開了一種墨輪打碼機,包括機體、機架、加熱板、輥子、墨輪,機架安裝在機體之間,加熱板安裝在機架的底部,輥子安裝在加熱板內,墨輪安裝在加熱板內并位于輥子的上方,所述墨輪上安裝有支撐架,所述支撐架的頂部固定連接有螺桿,所述螺桿的頂端固定連接有定位套,所述定位套的頂部轉動連接有磁塊。通過支撐架與螺桿之間的配合,使得墨輪被磨損后,利用磁塊與鐵塊之間相斥的原理,將墨輪向下按壓,使得磨損后的墨輪逐漸恢復至初始位置,使得墨輪的底部與輥子的頂部,始終保持密切相貼的狀態,使得輥子在轉動過程中,需要將磨損墨輪上的油墨吸附,繼續印刷至承載物上,使得輥子上的油墨始終保持充足的含量。